Article | REF: B5432 V1

Springs - Bending stresses

Author: Michel DUCHEMIN

Publication date: August 10, 1985 | Lire en français

You do not have access to this resource.
Click here to request your free trial access!

Already subscribed? Log in!

Automatically translated using artificial intelligence technology (Note that only the original version is binding) > find out more.

    A  |  A

    Overview

    Read this article from a comprehensive knowledge base, updated and supplemented with articles reviewed by scientific committees.

    Read the article

    AUTHOR

    • Michel DUCHEMIN: Engineer from the Institut Catholique d'Arts et Métiers de Lille - Engineer from the École Supérieure de Soudure Autogène in Paris - Rail product manager at Ressorts Industrie

     INTRODUCTION

    In this article, we'll look at the characteristics of different types of springs subjected to bending stresses. In particular, we'll look at leaf spring technology.

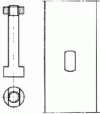
    Notations and symbols

    Symbol

    Unit

    Definition

    A

    mm

    Effective flush-mount length

    B

    mm

    Maximum blade width

    B ...

    You do not have access to this resource.

    Exclusive to subscribers. 97% yet to be discovered!

    You do not have access to this resource.
    Click here to request your free trial access!

    Already subscribed? Log in!


    The Ultimate Scientific and Technical Reference

    A Comprehensive Knowledge Base, with over 1,200 authors and 100 scientific advisors
    + More than 10,000 articles and 1,000 how-to sheets, over 800 new or updated articles every year
    From design to prototyping, right through to industrialization, the reference for securing the development of your industrial projects

    This article is included in

    Mechanical functions and components

    This offer includes:

    Knowledge Base

    Updated and enriched with articles validated by our scientific committees

    Services

    A set of exclusive tools to complement the resources

    Practical Path

    Operational and didactic, to guarantee the acquisition of transversal skills

    Doc & Quiz

    Interactive articles with quizzes, for constructive reading

    Subscribe now!

    Ongoing reading
    Springs